资产处使用手册
账号设置与管理
账号登录
添加资产子账号
采购账号查询
单据管理与任务审批
订单查询
发货单验货与查询
结算发起与查询
待审批任务
课题管理
课题/经费/项目号管理
课题/经费/项目号使用查询
院所基本设置
院所设置
管控供应商管理
修改密码
组织机构设置
权限分组设置
角色设置
采购类目设置
工作流管理
公告信息管理
仓库信息管理
合同模板管理
用户管理
管理账户
采购账户
危化品备案申请
危化品备案管理
物资库存管理
物资库存管理
配送单管理
回收代存单管理
台账领用单管理
台账回收单管理
固定资产管理
结算管理
创建结算单
待确认结算单
已确认结算单
待付款结算单
已付款结算单
采购统计
课题组已付款月统计
采购单位订单查询
课题组可付款统计
采购单位应付款统计
课题组验货单查询
供应商应付款来源
供应商已付款来源
月度订单金额统计
月度订单数量统计
线下采购量统计
线下供应商采购统计理
线下课题组采购统计
Published with GitBook
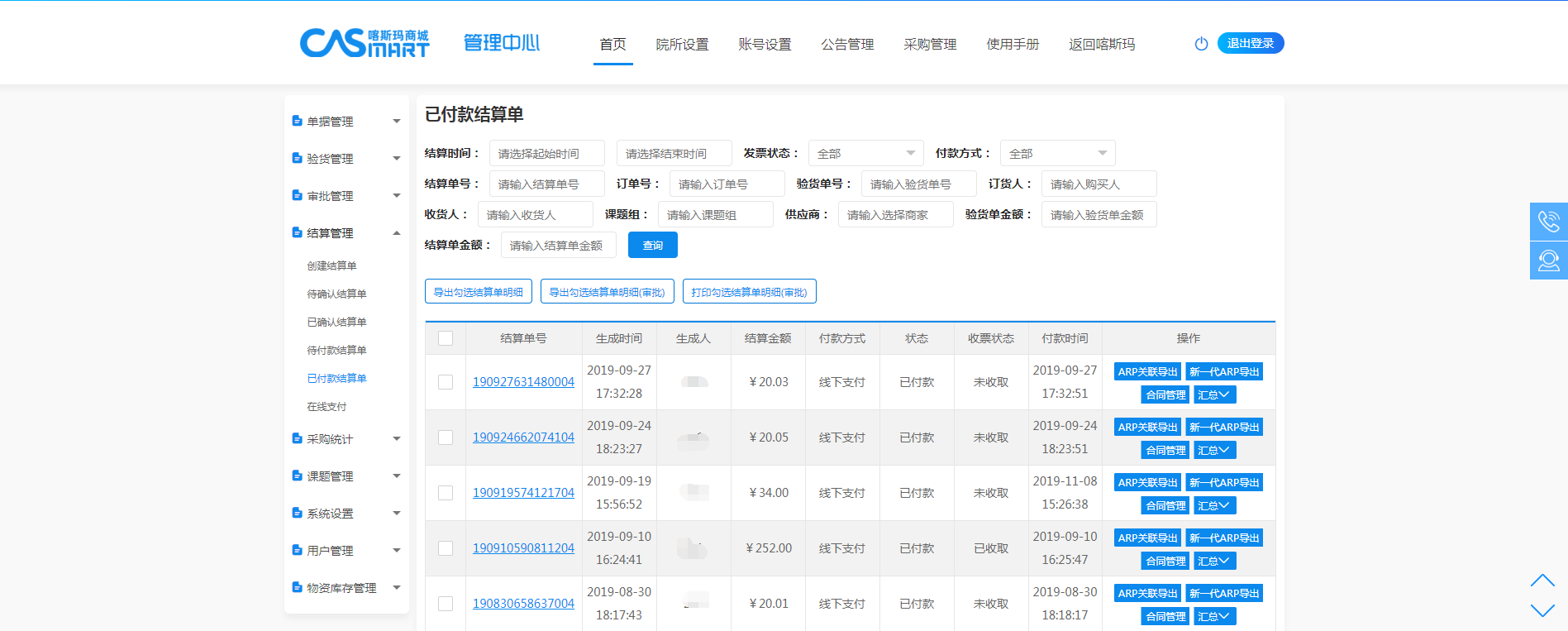
已付款结算单
已付款结算单
点击已付款结算单,进入已付款结算单界面,展示所有已付款结算单数据,提供搜索、导出、打印操作。
results matching "
"
No results matching "
"